تمرکز اپل بر توسعه گردنبند، دستبند و حلقه کلید هوشمند
اپل تاکنون گجتهای پوشیدنی همچون اپل واچ و ایرپاد عرضه کرده و اکنون به نظر میرسد غول فناوری مستقر در کوپرتینو با محصولات دیگری از جمله حلقه کلید، دستبند و گردنبند به دنبال گسترش محصولات پوشیدنی خود است.
به گزارش موبوایران، اپل تاکنون گجتهای پوشیدنی همچون اپل واچ و ایرپاد عرضه کرده و اکنون به نظر میرسد غول فناوری مستقر در کوپرتینو با محصولات دیگری از جمله حلقه کلید، دستبند و گردنبند به دنبال گسترش محصولات پوشیدنی خود است.
مدتها قبل شایعه شده بود که اپل در حال تحقیق در مورد حلقههای هوشمند است. اکنون پتنت جدیدی نشان میدهد که کوپرتینوییها در حال کار روی محصولات پوشیدنی بسیار زیادی هستند. ظاهرا ایده جدید اپل که کاربردهای بسیار زیادی نیز دارد، به توانایی پوشیدن یک وسیله خاص مربوط میشود.

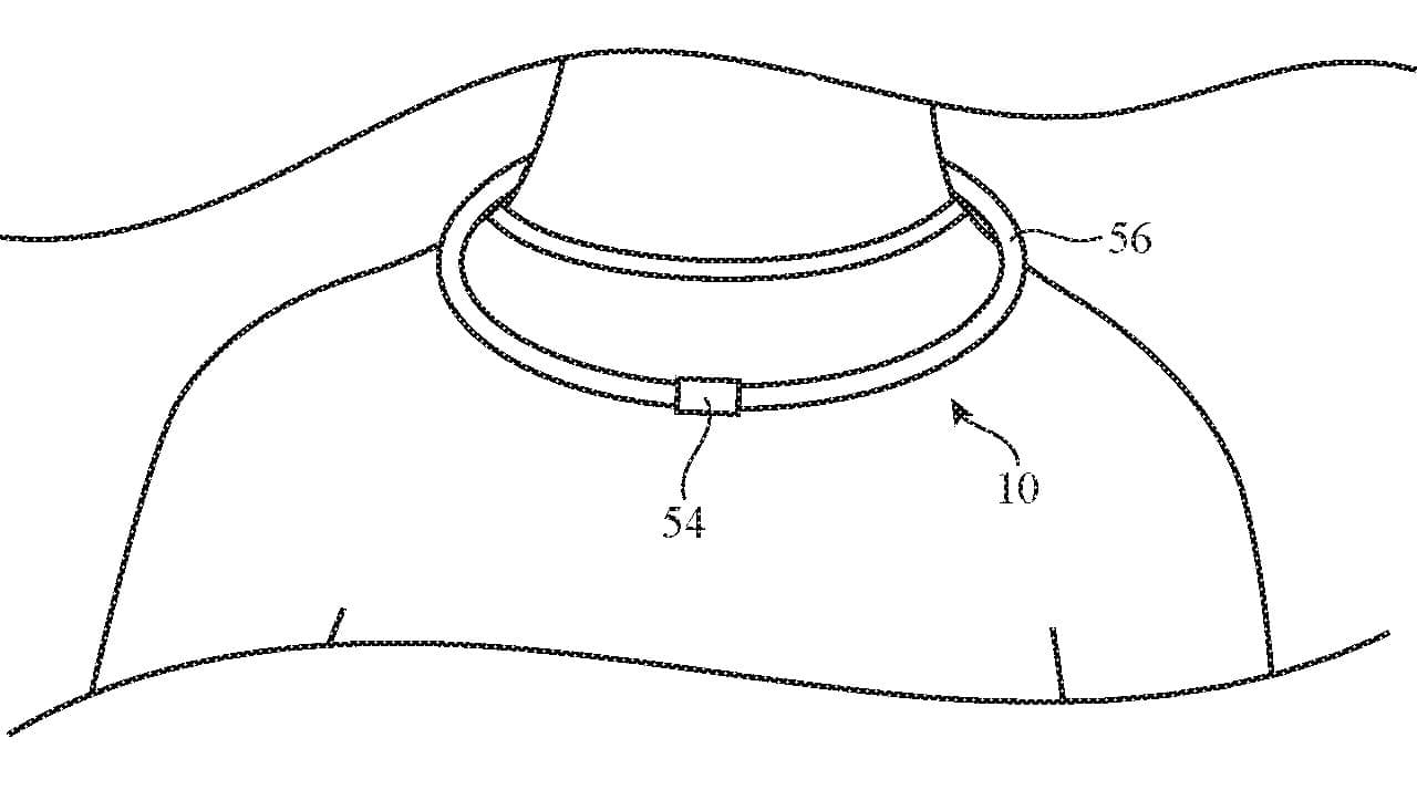
در پتنت اپل آمده است:دستگاههای الکترونیکی میتوانند روی بدن کاربران پوشیده شوند یا ممکن است به یک جسم دیگر متصل شوند. به عنوان مثال، یک دستگاه الکترونیکی میتواند دارای حلقه، بند یا شکل ریسمانی باشد که میتواند به آن گره بخورد، آویزان شود یا به اشکال دیگری به یک شخص، حیوان یا شی متصل شود.
در ادامه توضیحات پتنت آمده است که دستگاههای الکترونیکی میتوانند روی مچ دست یا گردن کاربران سوار شوند و برای جمعآوری برخی اطلاعات درباره اشخاص یا اشیایی که دستگاه الکترونیکی به آن متصل شده استفاده شود.
به گفته اپل این دستگاههای میتوانند، اطلاعات مربوط به مکان، فعالیت، شناسایی، پزشکی یا بیومتریک و موارد دیگری از کاربران را جمعآوری کنند. همچنین از این دستگاههای پوشیدنی میتوان برای ارائه خروجیهای مورد نیاز کاربران مانند خروجی صدا یا تصویر استفاده کرد. علاوه بر این، میتوان «اطلاعات شناسایی شخص و شی» یا «پیامهای کاربران» را در آنها ذخیره و به عنوان یک نشانگر بصری در سیستمهای واقعیت افزوده یا مجازی از آنها استفاده کرد.
هرچند انتظار میرود تمام دستگاههای پوشیدنی اشاره شده توسط اپل از نظر اندازه بسیار کوچک باشند، در پتنت اپل بیشتر به نحوه اتصال آنها اشاره شده است. همچنین در ادامه توضیحات به این موضوع نیز اشاره شده که این دستگاهها چگونه میتوانند شامل ساختاری مغناطیسی مانند پیوندهای مغناطیسی باشد.