مایکروسافت ظاهرا روی نسخه جدید ماوس Arc با طراحی تاشو کار میکند
مایکروسافت با هدف بهبود تجربه کاربری از ماوس، قصد دارد ماوس جدیدی با طراحی ارگونومی متفاوت توسعه دهد تا کاربران بتوانند زاویه انحنا و خمش آن را به تناسب نیاز خود تنظیم کنند.
به گزارش موبوایران، مایکروسافت با هدف بهبود تجربه کاربری از ماوس، قصد دارد ماوس جدیدی با طراحی ارگونومی متفاوت توسعه دهد تا کاربران بتوانند زاویه انحنا و خمش آن را به تناسب نیاز خود تنظیم کنند.
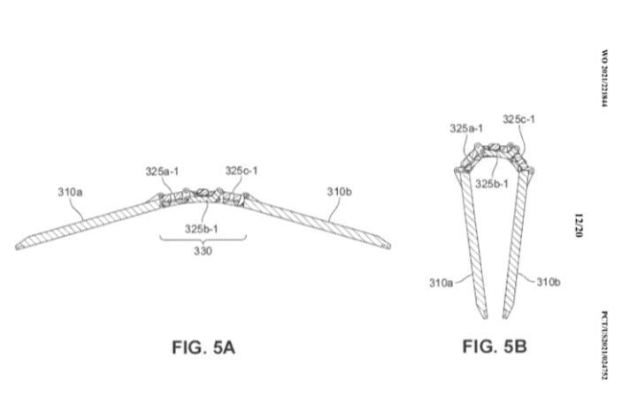
مستندات مربوط به پتنت ثبت شده ردموندیها در مورد این ماوس جدید نشان میدهد که این شرکت روی توسعه نسخه جدیدی از ماوس Arc کار میکند که میتواند تا ۱۸۰ درجه تا شود. طراحی بدنه این ماوس به گونهای است که قابلیت خمش و تغییر شکل فوقالعادهای دارد.
تصاویر مربوط به پتنت این ماوس جدید، طراحی ظاهری احتمالی آن را تا حدی نشان میدهد. بدنه ماوس با قابلیت تغییر شکل به گونهای طراحی شده تا کاربران بتوانند آن را برای سیستمهای کامپیوتری استفاده کنند و در عین از ارگونومی و طراحی خوبی که دارد، به بهترین شکل استفاده کنند.

هنوز مشخص نیست که این ماوس با کدام دستگاههای مایکروسافت سازگاری خواهد داشت. این پتنت در تاریخ ۳۰ مارس ۲۰۲۱ به ثبت رسیده و اطلاعات بیشتری در مورد مشخصات ماوس به اشتراک گذاشته نشده است.
با توجه به تصاویر مربوط به پتنت، در قسمت میانی ماوس، طراحی درنظر گرفته شده تا ماوس نقاطی با قابلیت خم شدن داشته باشد. در حالت عادی ماوس میتواند تا ۱۸۰ درجه به صورت مسطح نیز گسترده شود. در این صورت ماوس در حالت گسترده جای کمی نیز اشغال میکند و حمل و نقل آن آسانتر نیز خواهد بود.

با توجه به اینکه ممکن است کاربران بخواهند میزان خمش انحنای ماوس با توجه به ابعاد دست آنها تنظیم شود، چنین طراحی کمک میکند تا بتوانند به راحتی ماوس را مورد استفاده قرار دهند.
هنوز مشخص نیست که این ماوس چه زمانی به مرحله تولید خواهد رسید و هنوز مایکروسافت اطلاعات بیشتری در مورد آن منتشر نکرده است. باید دید در صورت طراحی و توسعه چنین ماوسی با قابلیت تاشوندگی و طراحی اوگونومیک، آیا کاربران از آن استقبال خواهند کرد یا خیر.