ثبت کلید مخفی، اختراع جدید اپل برای جایگزینی موس
ثبت اختراع جدید شرکت اپل نشان میدهد یک کلید مخفی در کیبورد مک بوک است و از آن به جای ماوس برای اشاره دقیق به موضوعی در مانیتور استفاده میشود.
به گزارش موبوایران، ثبت اختراع جدید شرکت اپل نشان میدهد یک کلید مخفی در کیبورد مک بوک است و از آن به جای ماوس برای اشاره دقیق به موضوعی در مانیتور استفاده میشود.
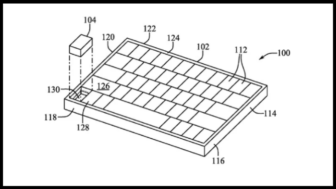
ثبت اختراع جدید در اداره ثبت اختراعات آمریکا نشان میدهد که اپل در حال توسعه یک کلید قابل جابجایی است که بخشی از لوازم جانبی مک بوکهای آینده خواهد بود. این اختراع جدید میتواند به عنوان یک ماوس دقیق برای ناوبری سریع صفحه نمایش عمل کند و Deployable Key Mouse نام دارد و جزئیاتی درباره ظاهر این کلید و کارکرد احتمالی آن در مک بوک وجود دارد.
صفحه کلید MacBook در طراحی جدید حفظ میشود، اما علاوه بر این، دارای یک کلید قابل جابجایی است که از دید پنهان است. در این کلید که قابل جا به جایی یک سنسور حسگر است، کاربر میتواند از آن برای نشان دادن دقیق محتوا در رایانه استفاده کند. این فناوری جدید برای کارهای دقیق مانند طراحی گرافیک، طراحی به کمک رایانه و مدل سازی و همچنین ویرایش اسناد مفید خواهد بود که با ماوس دستی بهتر انجام میشود. با این حال، در حق این امتیاز جدید این کلید نقش ماوس را بدون استفاده از سخت افزاری اضافی در مک بوک انجام میدهد.

طبق سند ثبت اختراع، کلید جدید از باتری تغذیه میکند و به سمت لبه صفحه کلید در منطقهای به ظاهر مخفی قرار میگیرد و هیچ نشانه دیگری در مورد اینکه آیا کلید میتواند چندین کار دیگر هم انجام دهد وجود ندارد و این ثبت فقط میتواند شواهدی از برنامههای آینده باشد.