اپل احتمالا روی آیفون با نمایشگر رولشونده کار میکند
بر اساس تحقیقات اپل و پتنتی که بهتازگی از این شرکت به دست آمده، میتوانیم این احتمال را مطرح کنیم که یکی از نسخههای آینده آیفون نمایشگر منعطف و کشویی داشته باشد.
به گزارش موبوایران، بر اساس تحقیقات اپل و پتنتی که بهتازگی از این شرکت به دست آمده، میتوانیم این احتمال را مطرح کنیم که یکی از نسخههای آینده آیفون نمایشگر منعطف و کشویی داشته باشد.
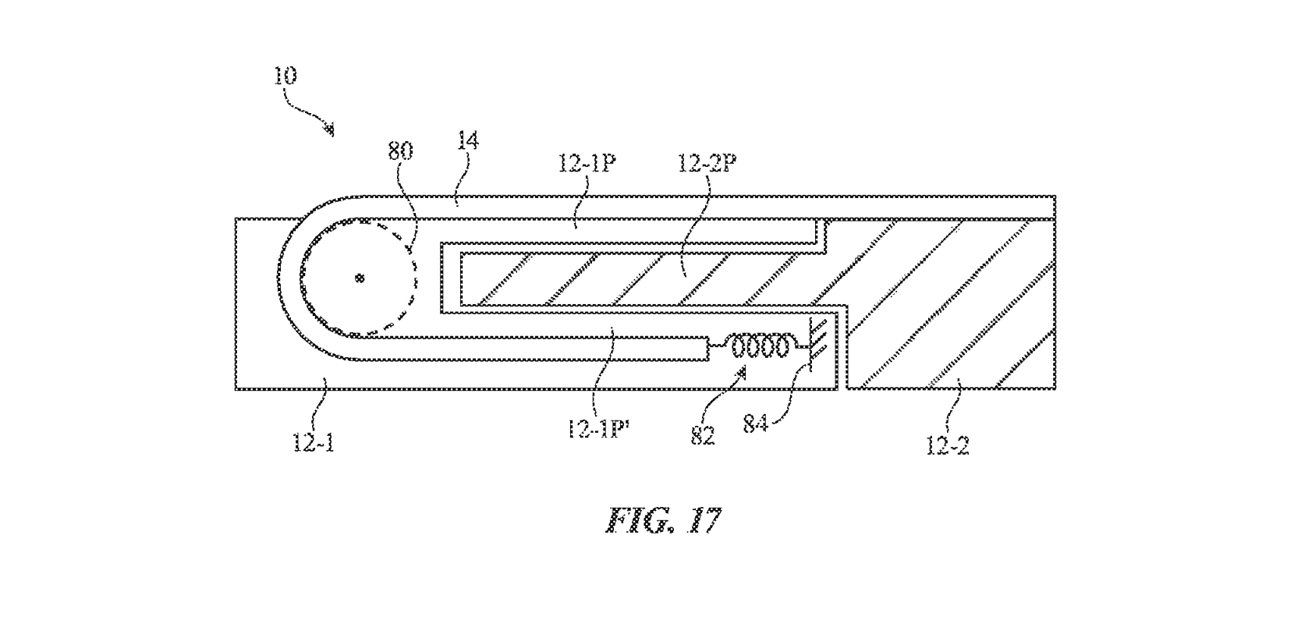
اپل در پتنتی که در اداره پتنت و نشان تجاری آمریکا ثبت شده، طرح نمایشگری با پنل منعطف را به نام خود زده که مانند طومارها میتواند در داخل بدنه لوله شود. ساختار دستگاهی که از این فناوری استفاده میکند شامل عناصری با قابلیت کشسانی است که میتوانند صفحه نمایش را از داخل بدنه به بیرون بکشند.
این سیستم به دستگاهی شبیه تلفن هوشمند اجازه میدهد اندازه طولی یا عرضی نمایشگر خود را افزایش دهد، ولی در حالت فشرده هم بخش عادی نمایشگر مثل دستگاههای معمولی قابل استفاده خواهد بود. این پتنت روشهای گوناگونی را برای کنترل حرکات کشسانی معرفی کرده که یکی از آنها شامل دو قطعه برای حفظ دو بخش اصلی دستگاه در کنار یکدیگر است.
اپل درباره چگونگی نگهداری نمایشگر در داخل بدنه میگوید پنل منعطف دستگاه میتواند با یک بار تاخوردگی اجازه دهد صفحه یک لایه دیگر به داخل برگردد. روش دیگری که برای انجام این کار پیشنهاد شده، دارای دو تاخوردگی است که اجازه میدهد پنل نمایش دو بار به سمت داخل برگردد.

این نمایشگر باید از مواد منعطف مثلا از پنلهای OLED منعطف ساخته شود. پتنت اپل در تاریخ ۱۶ ژانویه ۲۰۲۰ ثبت شده است. اپل سالانه پتنتهای زیادی را به ثبت میرساند اما بسیاری از آنها را عملی نمیکند. در نتیجه این پتنت هم ممکن است هرگز در یک دستگاه مصرفی مشاهده نشود.
با عرضه گوشیهای تاشو توسط برندهایی مثل سامسونگ و هواوی، شایعاتی درباره آیفون تاشو هم منتشر شده است. یکی از تحلیلگران میگوید اپل احتمالا در سال ۲۰۲۳ یک آیفون تاشو ۸ اینچی با نمایشگر OLED معرفی میکند. اما حالا میبینیم که این شرکت حتی ایده گوشیهای کشویی را هم در سر دارد و معلوم نیست در نهایت کدام مسیر را در پیش خواهد گرفت.