شیائومی روی توسعه موبایلی با محل قرارگیری متفاوت حسگر اثر انگشت جانبی کار میکند
مستندات مربوط به پتنت شیائومی از توسعه دستگاهی خبر میدهد که مجهز به نمایشگر دارای انحنا است و حسگر اثر انگشت جانبی آن در قسمت انحنادار نمایشگر تعبیه خواهد شد.
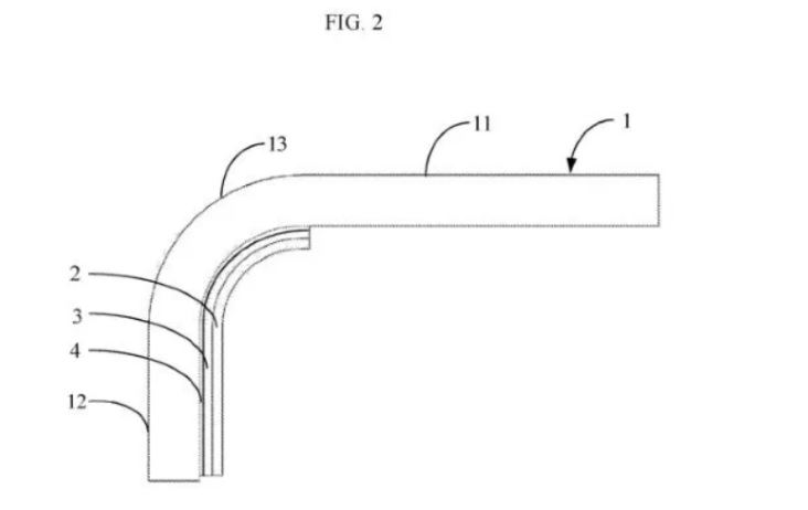
به گزارش موبوایران، مستندات مربوط به پتنت شیائومی از توسعه دستگاهی خبر میدهد که مجهز به نمایشگر دارای انحنا است و حسگر اثر انگشت جانبی آن در قسمت انحنادار نمایشگر تعبیه خواهد شد.
به نظر میرسد شیائومی در تلاش است تا نسلهای بعدی موبایلهای خود را با طراحی متفاوتتری در دسترس کاربران قرار دهد. این پتنت در اداره ثبت اختراعات ایالات متحده ثبت شده است.
باتوجه به تصاویر منتشر شده از پتنت مذکور، به نظر میرسد شیائومی قصد دارد محل قرارگیری حسگر اثرانگشت جانبی را به قسمت دارای انحنای نمایشگر دستگاه منتقل کند. همانطور که در تصاویر دیده میشود، موبایل مربوطه دارای نمایشگر بدون حاشیه است و حسگر اثرانگشت جانبی در سمت راست و در جایی که نمایشگر گوشی دارای انحنا است قرار داده شده است.

طراحی کلی موبایل نمایش داده شده شبیه موبایلهای ذریلمی ایکس ۳ زوم و می ۱۰i است. در حالی که نمایشگر اکثر گوشیهای هوشمند دارای انحنا از نوع امولد است، اما شیائومی قصد دارد این موبایل مجهز به نمایشگر جانبی با موقعیت قرار گیری متفاوت را به نمایشگر lcd مجهز کند. متاسفانه در تصاویر و مستندات پتنت مربوطه اطلاعات بیشتری در مورد این موبایل مطرح نشده است.
این نخستین بار نیست که شیائومی پتنتی برای توسعه موبایل با طراحی متفاوت ثبت میکند. چند روز قبل نیز مستندات مربوط به پتنت دیگری از این شرکت نشان میداد که چینیها روی توسعه موبایلهایی با طراحی متفاوت دوربین کار میکنند. تصاویر مربوط به پتنتها، طراحیهای مختلف ماژول دوربین دستگاه را به تصویر کشیده بودند.

البته باید در نظر داشت که ممکن است هیچ گاه چنین دستگاههایی به بازار عرضه نشوند. باید دید درنهایت این شرکت قصد دارد موبایلهای بعدی خود را با چه طراحی و مشخصاتی به بازار عرضه کند. اما آنچه اطلاعات پتنت نشان میدهد، چینیها به تغییر طراحی ظاهری گوشیهای خود توجه نشان میدهند.