اتفاقی جالب برای نمایشگر گوشی هوآوی Mate X2 !
جدیدترین اطلاعات فاش شده در دنیای گوشیهای هوشمند به ما از خم شدن نمایشگر Mate X2 به سمت داخل خبر میدهند.
جدیدترین اطلاعات فاش شده در دنیای گوشیهای هوشمند به ما از خم شدن نمایشگر Mate X2 به سمت داخل خبر میدهند.
هوآوی تاکنون دو گوشی هوشمند منعطف معرفی کرده است که Mate X و Mate Xs نام دارند و هر دوی آنها دارای نمایشگرهایی هستند که به سمت خارج باز میشوند. اما به تازگی خبری در دنیای گوشیهای هوشمند منتشر شده است که ادعا میکند گوشی Mate X2 با نسلهای پیشین خود در این زمینه تفاوت خواهد داشت، زیرا از نمایشگری استفاده میکند که به سمت داخل خم میشود.
کسی که این خبر را منتشر کرده در دنیای فناوری فرد قابل اعتمادی است، در نتیجه میتوان انتظار داشت هوآوی واقعا در تلفن هوشمند آینده خود از این سبک طراحی در قسمت نمایشگر دستگاه استفاده کند. این ادعا ابتدا توسط این فرد در توئیتر در جواب نظر یکی از افشاگران دنیای فناوری منتشر شد.

اطلاعات فاش شده از گوشی Mate X2
این فرد علاوه بر اطلاع از باز شدن نمایشگر منعطف این دستگاه به سمت داخل، میدانست که قرار نیست در صفحه نمایش Mate X2 از مدل UTG (شیشه فوق نازک) باشد و گفته میشود هوآوی برای ساخته آن مدل CPI را در نظر دارد. وی علاوه بر این دو مطلب اعلام کرد که شرکت سامسونگ و BOE وظیفه ساخت نمایشگر هوآوی Mate X2 را خواهند داشت.
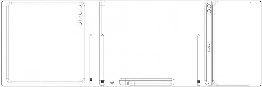
البته این اولین دفعهای نیست که ما درباره یک گوشی هوشمند منعطف از هوآوی که نمایشگر آن به سمت داخل باز میشود میشنویم، از آنجایی که این غول فناوری چینی طراحیهای اولیه این دستگاه را در ژانویه به اداره مالکیت معنوی اتحادیه اروپا (EUIPO) ارسال کرده است.
اسکریپتهای ارائه شده توسط هوآوی به EUIPO نشان داد که تلفن هوشمند تاشو این شرکت دارای شکافی برای قلم خواهد بود و در مجموع شش دوربین خواهد داشت که چهار عدد از آنها در پشت باقی در نوار کناری عمودی قرار دارند. میتوانید در ادامه این طراحی اولیه را مشاهده کنید:

در توئیت افشاگر مذکور نام محصولات آینده هوآوی نیز در کنار کدهای آنان لو رفته است. گوشی Mate X2 همان Teton است و نسل بعد Nova و Y9a به ترتیب جسیکا و فرانکلین هستند.
