گوشی منحصربهفرد هوآوی با نمایشگر رول شونده
هوآوی یک گوشی هوشمند منحصربهفرد با نمایشگر رول شونده را به ثبت رسانده است.
طبق آخرین خبرها شرکت هوآوی یک گوشی هوشمند جدید را ثبت اختراع کرده است. این گوشی دارای نمایشگر منحصربهفرد قابل رول شدن است.
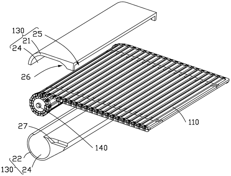
به گزارش فرارو، شرکت هواوی به تازگی سند ثبت اختراع (پتنت) جدیدی را برای گوشی هوشمندی که به نظر میرسد منحصر به فرد و آینده نگر باشد، دریافت کرده است. با توجه به اسناد منتشر شده، به نظر میرسد دستگاه موجود دارای فناوری صفحه نمایش چرخشی انعطاف پذیر است.

این سند ثبت اختراع در اداره مالکیت فکری دولتی چین ثبت شده و عنوان آن «مکانیسم پشتیبانی صفحه نمایش انعطاف پذیر و تجهیزات الکترونیکی قابل چرخش» بوده است. وبسایت ITHome افشا کرده که این سند دارای شماره ثبت اختراع CN114439843A میباشد. این سند، حق ثبت اختراع یک دستگاه الکترونیکی را توصیف میکند که دارای یک فناوری نمایشگر انعطاف پذیر است که توسط یک دستگاه منحصر به فرد که در زیر صفحه نمایش قرار دارد پشتیبانی میشود. در توضیحات ثبت اختراع اضافه شده است که «ساختار ساده و فضای ذخیره سازی کوچک دارد و میتواند برای دستگاههای قابل حمل ارائه شود».
قابل ذکر است، ساختار مشاهده شده در طرحهای ثبت اختراع که از نمایشگر دستگاه پشتیبانی میکند، شامل یک قسمت چرخان نیز میشود. این دستگاه دارای مکانیزم لولای چرخشی است که در دو طرف آن توسط یک قاب محافظ پوشانده شده است. البته، مشخص نیست که آیا فرآیند چرخش خودکار است یا دستی. در همین حال، مکانیسم پشتیبانی دارای ساختارهای مهاربندی مختلفی است که صفحه نمایش تاشو را فعال میکند.
در حال حاضر، مشخص نیست که آیا این دستگاه ثبت شده واقعاً یک گوشی هوشمند است یا خیر. کاملا محتمل است که این محصول یک نمایشگر قابل حمل باشد که قرار است با یک چیپست کم مصرف برای عملکردهای پایه رابط کاربری که با یک حافظه کوچک نیز جفت شده است حمل شود. به خاطر داشته باشید که این فناوری هنوز فقط یک سند ثبت اختراع است و ما هیچ راهی برای تأیید اینکه آیا این غول فناوری چینی واقعاً روی چنین محصولی کار میکند یا خیر، نداریم.