پیکسل واچ گوگل شاید با لمس پوست دست کنترل شود
همانطور که احتمالاً میدانید، گوگل قصد دارد تا امسال اولین ساعت هوشمند شرکت خود را با نام پیکسل واچ معرفی و روانهی بازار گجتهای پوشیدنی کند.
به گزارش موبوایران، همانطور که احتمالاً میدانید، گوگل قصد دارد تا امسال اولین ساعت هوشمند شرکت خود را با نام پیکسل واچ معرفی و روانهی بازار گجتهای پوشیدنی کند. تصاویر تبلیغاتی این ساعتهای هوشمند که قبلاً منتشر شده بودند، به ما نشان دادند که پیکسل واچ از طراحی دایرهای شکل بهره میبرد. همچنین سیستم عامل Wear OS گوگل به صورت پیشفرض روی این ساعت هوشمند نصب شده و برای کاربرانشان قابلیتهای منحصربهفردی را به ارمغان خواهند آورد. یکی از این قابلیتها توسط وبسایت LetsGoDigital در اواسط سال ۲۰۲۰ کشف شده بود که به پتنت ثبت شده گوگل با نام «رابط کاربری پوست برای گجتهای پوشیدنی: ادغام سنسورها برای بهبود کیفیت سیگنال» اشاره دارد و به نظر میرسد که در این ساعت هوشمند از این قابلیت استفاده خواهد شد.
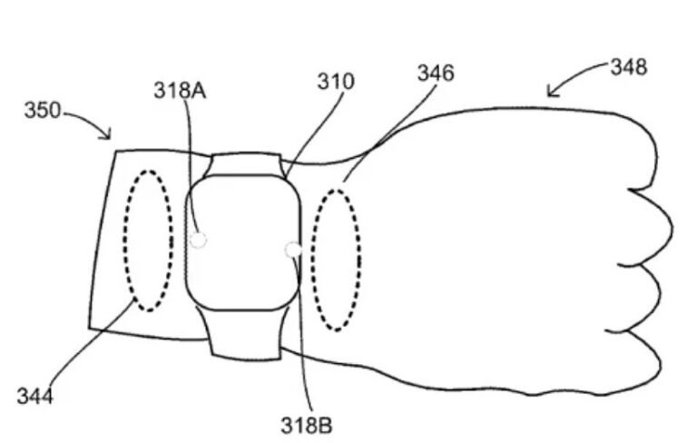
با استفاده از تکنولوژی مذکور در توضیحات این پتنت، کاربران گوگل پیکسل واچ میتوانند با سوایپ روی پوست خود، ساعت هوشمند را کنترل کنند. طبق اطلاعات منتشر شده از وبسایت LetsGoDigital، نظیر همین فناوری در هدفون بیسیم پیکسل بادز پرو گوگل استفاده خواهد شد. با استفاده از این فناوری به اصطلاح رابط کاربری پوست حرکاتی نظیر سوایپ کردن و ضربه زدن روی پوست در مناطق نزدیک به ساعت هوشمند، کاربران قادر خواهند بود تا گجت پوشیدنی خود را کنترل کنند و نیازی به استفاده از نمایشگر ساعت ندارند.

برای ایربادزهای گوگل، پوست مجاور گوش میتواند محلی مناسبی برای بهرهگیری از این فناوری بسیار جالب باشد. باید خاطر نشان کنیم که برای گجت پوشیدنی مانند پیکسل واچ مچ دست، ساعد، یا پشت دست میتوانند محلهای مناسبی برای سوایپ کردن و ضربه زدن در نظر گرفته شود. رابط کاربری پوست یک گزینهی ورودی جدید برای بسیاری از گجتهای هوشمند نظیر ساعتهای هوشمند، ایربادزها و حتی عینکهای هوشمند معرفی میکند. نحوهی عملکرد این فناوری بدین صورت است که سوایپ کردن و ضربه زدن روی پوست «موجهای مکانیکی» ایجاد میکنند که میتوانند توسط سنسورهای متعدد و شتابسنج ساعت هوشمند شناسایی شوند.
در ماه گذشته سونی یک ویژگی به نام «Wide Area Tap» را برای هدفون بیسیم لینک بادز خود معرفی کرد که این قابلیت به شما امکان میدهد با لمس کردن بخش بیرونیِ گوش آن کنترل کنید. همچنین در سال ۲۰۱۸، هواوی روی سیستمی مشابه فناوری گوگل میکرد که کاربران با نوشتن یک حرف روی پوست دست خود، آن حرف روی نمایشگر ساعت به نمایش در میآمد. اگرچه گوگل این فناوری را به نام خود ثبت کرده، اما مشخص نیست که از آن در پیکسل واچ و همچنین پیکسل بادز پرو بهره میبرد یا نه.
همانطور که در ابتدای خبر به آن اشاره کردیم، گوگل قصد دارد در این ساعت هوشمند، از قابلیتها و ویژگیهای منحصربهفردی بهره ببرد که فقط برای کاربران گوگل پیکسل واچ در دسترس خواهند بود. گفته میشود که غول موتور جستوجو نزدیک به ۲۰ نوع بند مختلف را برای این ساعت هوشمند در اختیار کاربران قرار میدهد که بسته به سلیقهی خود میتوانند آن را انتخاب کنند. باید خاطر نشان کنیم که این ساعت مجهز به دکمهی چرخان در لبهی سمت راست برای کنترل رابط کاربری خواهد بود. همچنین یک بریدگی میکروفون در لبهی سمت چپ این ساعت هوشمند شرکت گوگل دیده میشود.

طبق آخرین اطلاعات منتشر شده، پیکسل واچ با گام شمار، سنسور کنترل ضربان قلب و سایر ویژگیهای ردیابی سلامت روانه بازار جهانی گجتهای پوشیدنی میشود. همچنین یکی از تصاویر تبلیغاتی این ساعت هوشمند از پشتیبانی رابط کاربری این ساعت از سنسور نظارت بر ضربان قلب خبر میدهد. تصویر دیگری از این ساعت یک مسیر یکپارچه گوگل مپس را نشان میدهد که به این معنی است که کاربران میتوانند از ساعت پیکسل در مقولهی مسیریابی هم بهره ببرند. پیشتر هم گزارشی منتشر شده بود مبنی بر این که ساعت هوشمند پیکسل واچ احتمالا با نسخهی جدید گوگل اسیستنت عرضه میشود.
با وجود اینکه نسخهی سوم پلتفرم چند ماه قبل WearOS ارائه شده، اما این پلتفرم همچنان فاقد گوگل اسیستنت است. حالا به نظر میرسد اولین ساعت هوشمند گوگل همراه با نسخهی جدید این دستیار هوشمند معرفی خواهد شد. طبق شایعهها این ساعت در دو رنگ مشکی و نقرهای در اختیار کاربران قرار میگیرد. عرضهی ساعت هوشمند پیکسل واچ مطمئنا اکوسیستم گوگل را تقویت میکند. باید دید کاربران چه واکنشی به محصولات جدید گوگل نشان خواهند داد.