رایانه جدید اپل که فقط شامل یک صفحه کلید است!+تصویر
پتنت جدید اپل یک صفحه کلید جادویی است که در صورت قرارگیری در محفظه صفحه کلید جادویی به یک مک مینی تبدیل میشود و میتوانید هنگام مسافرت آن را به راحتی به مانیتور یا تلویزیون متصل کنید.
اپل به تازگی در حال کار بر روی یک مفهوم کاملا جدید است. به تازگی یک پتنت جدید از اپل توسط USPTO (اداره ثبت اختراع و علائم تجاری ایالات متحده) منتشر شده است؛ این پتنت در آگوست ۲۰۲۰ به ثبت رسیده بود.
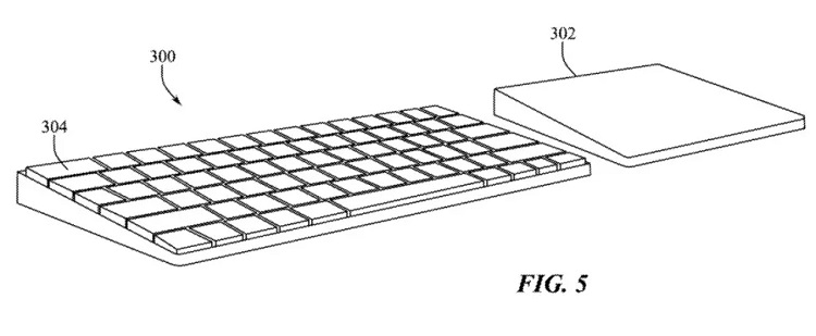
به گزارش فرارو، پتنت جدید اپل یک صفحه کلید جادویی است که در واقع یک رایانهی قابل حمل مک است. حق اختراع جدید اپل توضیح میدهد که این یک «کامپیوتر در یک دستگاه ورودی» است که در صورت قرارگیری در محفظه صفحه کلید جادویی به یک مک مینی تبدیل میشود و میتوانید هنگام مسافرت آن را به راحتی به مانیتور یا تلویزیون متصل کنید.
در حق ثبت اختراع آمده است: «وجود تقاضای زیاد برای دستگاههای محاسباتی قابل حمل که عملکرد بالایی نیز ارائه میدهند، باعث کوچکسازی و کاهش اندازه اجزای محاسباتی شده است.» محفظه صفحهکلید از اجزایی مانند پردازندهها، باتریها، حافظه و مدارهای مجتمع تشکیل شده است و کاربر فقط باید آن را به یک نمایشگر متصل کند. این کیبورد دارای یک کابل واحد برای انجام وظایفی مانند نمایش، برق و داده میباشد.

اخیراً با عرضه Raspberry Pi 400 شاهد احیای سیستمهای رایانه خانگی گُوِه شکل بودیم؛ با این حال، اپل سطوح امیدوارکنندهای از قدرت محاسباتی را دارد که هرگز از چنین محصولی انتظار نمیرود. همچنین اپل پردازندههای بسیار موفق Apple Silicon M1 خود را در گستره مکها و آی دیوایسهای خود تکثیر کرده است و طبیعتاً فرصتهای بیشتری را برای گسترش فروش میبیند. هستههای CPU و GPU داخلی در Apple M1، M1 Pro و M1 Max هماکنون عملکرد بالایی در سطوح انرژی پایین ارائه میدهند. بنابراین، اگر مجبور به انتخاب یک معماری کامپیوتری برای ساختن یک کامپیوتر جدید در حال اجرا با فرمت صفحه کلید باشیم، Apple Silicon انتخاب مناسبی خواهد بود.
این حق اختراع قطعاً به دستگاه قدرتمندتر M1 یا M2 مربوط میشود، زیرا در این پتنت صفحه کلید میتواند به یک فن فعال مجهز شود و از صفحه پایه صفحه کلید برای از بین بردن گرما استفاده میشود. البته برخی از دستگاههای قابل حمل M1 که با باتری کار میکنند نیز بدون فن هستند و عملکرد قابل تحسینی را ارائه میدهند. این کامپیوتر قابل حمل که در یک صفحه کلید گنجانده شده است، حتی میتواند تا شود و حجم کمتری را اشغال کند. همچنین ممکن است یک Trackpad نیز در این کیبورد تعبیه شده باشد تا نیازی به استفاده از اشاره گر (ماوس) مجزا همراه با این کیبورد نداشته باشیم.

این حق اختراع فقط یک دستگاه را نشان نمیدهد، بلکه مجموعهای از تنظیمات سخت افزاری و روشهای ممکن برای یک صفحه کلید (رایانه قابل حمل) است. یکی از نقاط ضعف این پتنت میتواند فلسفه اپل برای کاهش پورتهای فیزیکی به حداقل مطلق باشد، داشتن یک پورت/کابل برای همه چیز خوب است، اما ممکن است شما نیاز به دانگلهایی برای قطعاتی که میخواهید متصل شوید داشته باشید؛ در چنین شرایطی وجود یک پورت کافی نخواهد بود. این پتنت تایید نمیکند که اپل هرگز چنین محصولی را تولید خواهد کرد، اما تصور اینکه چه اتفاقی خواهد افتاد، جالب به نظر میرسد.
