اپل روی یک سیستم سانروف منحصر بهفرد کار میکند
بر کسی پوشیده نیست که اپل مشغول کار روی خودروی برقیاش موسوم به «اپل کار» است و هرچند وقت یکبار پتنتهای جدیدی برای فناوریهای احتمالی این خودرو به ثبت میرسد.
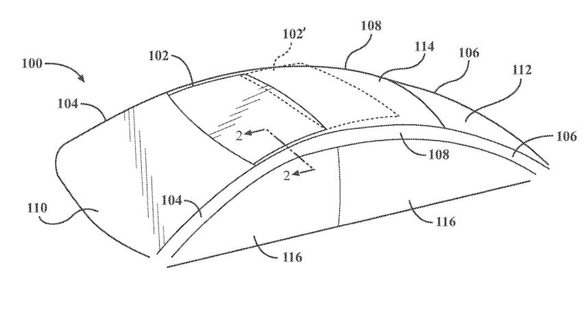
به گزارش موبوایران، بر کسی پوشیده نیست که اپل مشغول کار روی خودروی برقیاش موسوم به «اپل کار» است و هرچند وقت یکبار پتنتهای جدیدی برای فناوریهای احتمالی این خودرو به ثبت میرسد. حالا جدیدترین پتنت اپل برای خودروی برقیاش، یک سیستم سانروف را نشان میدهد که ویژگیهای منحصر بهفردی دارد.
طبق پتنت ثبت شده، شیشه مورد استفاده در این سانروف میزان کدری متغیر دارد یعنی راننده میتواند میزان شفافیت شیشه را تنظیم کند. همچنین به نظر میرسد سانروف همزمان با پنجرهها باز میشود، در حالی که اکثر خودروها با فناوریهای مشابه از سانروف ثابت بهره میبرند.
در بخشی از این پتنت به امکان کنترل میزان شفافیت شیشه برای ورود نور اشاره شده:«یکی دیگر از جنبههای این پتنت، وسیله نقلیهای است که شامل یک پنجره و یک ناحیه با شفافیت متغیر درون این پنجره است. این ناحیه با شفافیت متغیر را میتوان کنترل کرد تا میزان نور مدنظر افراد وارد کابین شود. یک مجموعه پنل متغیر هم میتواند بین حالتهای باز و بسته تغییر وضعیت دهد.»
کنترل نور ورودی به اپل کار با سیستم سانروف پیشرفته
این سیستم به راننده اپل کار اجازه میدهد که بدون باز کردن سانروف، میزان نور ورودی به کابین را کنترل کند و البته زمانی که به هوای تازه نیاز دارد، سانروف را بطور کامل باز کند. به احتمال بسیار زیاد، راننده میتواند سانروف اپل کار را از طریق کار پلی یا حتی سیری تنظیم کند.

این پتنت بار دیگر نشان میدهد که اپل در زمینه ساخت خودروی برقیاش جدی است، هرچند تضمینی برای ورود تمام پتنتها به دنیای واقعی وجود ندارد.
کوپرتینوییها به توسعه و آزمایش سیستم خودروهای خودران ادامه میدهند و با شرکتهای مختلف برای تولید محصولشان مذاکره میکنند که البته طبق گزارشها، تا به امروز تمام آنها شکست خوردهاند. علاوه بر این، اپل در ماههای گذشته چندین نیروی کلیدی این بخش را هم از دست داده است.
با وجود تمام این موارد، اگر همه چیز طبق برنامه پیش برود، اپل کار احتمالا 3 تا 4 سال دیگر از راه میرسد. با توجه به قدرت بالای برند اپل در بازار، انتظار میرود اپل کار تبدیل به رقیبی قدرتمند برای خودروهای تسلا و همچنین برندهای آلمانی فعال در این صنعت شود.