اولین آیفون با صفحه نمایش قابل چرخش
اخیراً اطلاعاتی از یک ثبت اختراع جدید اپل به بیرون درز کرده که نشان میدهد این غول فناوری آمریکایی در حال توسعه یک گوشی هوشمند با صفحه نمایش قابل چرخش است که بر خلاف گوشیهای تاشو فاقد هرگونه لولا برای جمع شدن صفحه نمایش است.
به گزارش موبوایران، تب عرضه گوشیهای تاشو در یکی دو سال گذشته همه جا را فرا گرفته به نحوی که اکنون مشخص شده حتی اپل نیز قصد ورود به این عرصه را دارد. این ادعا از انجا ناشی میشود که اخیراً اطلاعاتی از یک ثبت اختراع جدید اپل به بیرون درز کرده که نشان میدهد این غول فناوری آمریکایی در حال توسعه یک گوشی هوشمند با صفحه نمایش قابل چرخش است که بر خلاف گوشیهای تاشو فاقد هرگونه لولا برای جمع شدن صفحه نمایش است.
مینگ چی کو، افشاکننده و تحلیلگر سرشناس TF International که دارای منابع شگفت انگیزی در داخل اپل است، چند وقت پیش مدعی شد که آیفون تاشو تا سال ۲۰۲۴ ظاهر نخواهد شد. در صورت صحت، این ادعا نشان میدهد که وقتی صحبت از این رده رو به رشد بازار گوشیهای هوشمند میشود، اپل از سامسونگ بسیار عقبتر است؛ بنابراین تا آن زمان که اپل اولین گوشی تاشو خود را روانه بازار کند، سامسونگ احتمالاً گوشیهای آینده Galaxy Z Fold 6 و Galaxy Z Flip 6 را عرضه خواهد کرد.
با این حال، گفته میشود که اپل در حال کار بر روی یک گوشی متفاوت دیگر است. اواخر هفته گذشته، دفتر ثبت اختراعات و علائم تجاری ایالات متحده، معروف به USPTO، یک درخواست ثبت اختراع توسط اپل با نام «دستگاههای الکترونیکی دارای صفحه نمایش کشویی قابل گسترش» را منتشر کرد. به نظر میرسد چنین نمایشگرهای قابل ارتقاء مرز بعدی تولیدکنندگان گوشیهای هوشمند است، زیرا شرکتهایی مانند سامسونگ و شیائومی نیز حق ثبت اختراع گوشیهایی با صفحه نمایش قابل چرخش یا کشویی را دریافت کرده اند.

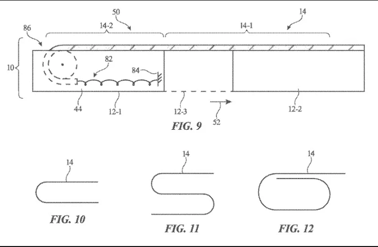
تصویری از گواهی ثبت اختراع جدید اپل برای آیفون قابل رول شدن
در سال ۲۰۱۹، سامسونگ حق ثبت اختراع یک تلفن همراه را با استفاده از «مکانیزم نورد» موتور برای گسترش صفحه نمایش از اندازه تلفن هوشمند به اندازه تبلت دریافت کرد. دو هفته بعد، این غول فناوری کره جنوبی حق ثبت اختراع یک گوشی دیگر را دریافت کرد که به کاربر اجازه میدهد اندازه صفحه نمایش را تا ۵۰ درصد افزایش دهد. به عبارت دیگر، صفحه نمایش ۶ اینچی این گوشی هوشمند هنگامی که کاربر صفحه نمایش بزرگتر آن را بکشد، به یک تبلت ۹ اینچی تبدیل میشود.
درخواست ثبت اختراع جدید اپل شامل توصیف بخشهایی از یک گوشی آیفون با صفحه نمایش قابل چرخش است. در داخل گوشی، صفحه نمایش در اطراف یک مکان غلتکی در داخل دستگاه خم میشود. اپل در درخواست ثبت اختراع خاطرنشان میکند که «بخشی از صفحه نمایش انعطاف پذیر ممکن است در محوطه داخلی محفظه ذخیره شود. در حالت گسترش نیافته، صفحه نمایش انعطاف پذیر ممکن است یک یا چند خم داشته باشد و دو برابر شود.»

برخلاف گوشی تاشو، یک گوشی قابل چرخش یا بیرون کشیدن، نیازی به لولا ندارد. مزیت استفاده از یک صفحه نمایش رول شونده در مقایسه با یک صفحه نمایش تاشو این است که با یک صفحه قابل چرخش هیچ چین و چروک قابل مشاهدهای در وسط صفحه نمایش که لولا در آن قرار دارد، وجود ندارد. به گزارش فرارو، علاوه بر ایجاد چین و چروک روی صفحه، کاربران تاشو باید نگران ساییدگی لولا نیز باشند، هرچند که این امر بسته به اینکه کاربر دستگاه را برای دسترسی به صفحه نمایش بزرگتر، چند بار باز کند، متغییر است. با وجود یک صفحه قابل چرخش و فقدان لولا، بدیهی است که هیچ نگرانی در مورد فرسوده شدن چنین قسمتی وجود ندارد. با این حال، چنین دستگاههایی نیز اجزای خاص خود را دارند و کاربران کماکان باید نگران خراب شدن چنین اجزایی باشند.

ماه گذشته گزارشی در مورد درخواست یک ثبت اختراع اپل درباره باتری تاشو منتشر شد که نشان از برنامه ریزی دقیق این شرکت دارد. اپل ترجیح میدهد از یک باتری تاشو در مقایسه با دو باتری سفت و سخت جداگانه برای آیفون تاشو استفاده کند، زیرا میتواند یک باتری با ظرفیت بیشتر را در دستگاه قرار دهد. علاوه بر این، استفاده از باتری تاشو چیزی را ارائه میدهد که اپل آن را «انعطاف مکانیکی» دستگاه مینامد. این باتری در نزدیکی لولا صفحه تاشو قرار میگیرد.
طبق گزارشات، اپل دو سناریو مختلف برای آیفون تاشو خود در نظر گرفته است. یکی شبیه Galaxy Z Fold 3 است که هنگام باز شدن صفحه نمایش خارجی تلفن هوشمند، به یک iPad تبدیل میشود. احتمال دیگر یک شکل تاشو است که شبیه Galaxy Z Flip 3 است که هنگام بسته شدن، این دستگاه به راحتی در جیب جا میشود و با باز شدن به یک تلفن هوشمند ۶.۷ اینچی با صفحه بلند و باریک با نمایشگر ۲۱: ۹ یا نسبت تصویر ۲۲: ۹، تبدیل میشود.