خیالات اپل در مورد گوشی های رل شدنی چیست؟
درخواست ثبت اختراع نشان می دهد که اپل در حال بررسی تولید آیفون رل شدنی است.
به گزارش موبوایران، درخواست ثبت اختراع نشان می دهد که اپل در حال بررسی تولید آیفون رل شدنی است.
مینگ چی کو، تحلیلگر TF International و افشاگر اپل اعلامکرده که نباید انتظار آیفون رل شدنی را تا سال 2024 داشته باشید. وقتی صحبت از این رده رو به رشد بازار گوشی های هوشمند می شود، اپل از سامسونگ بسیار عقب است.
نمایشگرهای قابل چرخش و کشویی خط مقدم بعدی تولیدکنندگان گوشی های هوشمند هستند.
اما گفته می شود که اپل در حال کار روی عامل متفاوت دیگر است. دیروز، دفتر ثبت اختراعات و علائم تجاری ایالات متحده، معروف به USPTO یک درخواست ثبت اختراع توسط اپل با نام »دستگاه های الکترونیکی دارای صفحه نمایش کشویی قابل گسترش» را منتشر کرد. به نظر می رسد چنین نمایشگرهای قابل ارتقاء خط مقدم بعدی تولیدکنندگان تلفن های هوشمند است زیرا شرکت هایی مانند سامسونگ و شیائومی حق ثبت اختراع گوشی هایی با صفحه نمایش قابل چرخش یا کشویی را دریافت کرده اند.
سامسونگ در سال 2019 ، حق ثبت اختراع تلفن را با استفاده از "مکانیزم رل شدن" برای گسترش صفحه نمایش از اندازه تلفن هوشمند به اندازه تبلت دریافت کرد. دو هفته بعد، سامسونگ حق ثبت اختراع گوشی را دریافت کرد که به کاربر اجازه می دهد اندازه صفحه نمایش را تا 50 درصد افزایش دهد. صفحه نمایش 6 اینچی گوشی هوشمند هنگامی که کاربر سمت راست نمایشگر را بکشد، به یک تبلت 9 اینچی تبدیل می شود.
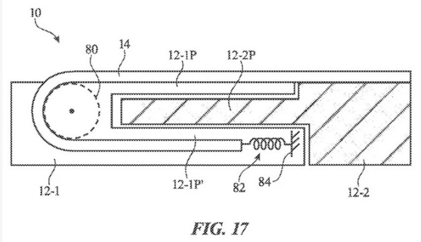
درخواست ثبت اختراع جدید اپل شامل مقطعی از یک آیفون قابل چرخش است. در داخل گوشی، صفحه نمایش در اطراف یک مکان غلتکی در داخل دستگاه خم می شود. اپل در درخواست ثبت اختراع خاطرنشان می کند: بخشی از صفحه نمایش منعطف ممکن است در محوطه داخلی محفظه ذخیره شود (در صورتی که محفظه در حالت گسترش نیافته باشد). در حالت گسترش نیافته، صفحه نمایش انعطاف پذیر ممکن است یک یا چند خم داشته باشد و دو برابر شود. برخلاف یک گوشی تاشو، گوشی قابل چرخش یا بیرون کشیدن نیازی به لولا ندارد.
این اختراع در ابتدا در ماه ژوئن گذشته توسط اپل ثبت شد. مزیت استفاده از یک صفحه نمایش رول در مقایسه با یک صفحه نمایش تاشو مانند دو مدل سامسونگ این است که با یک صفحه قابل چرخش هیچ چین و چروک قابل مشاهده ای در وسط صفحه نمایش که لولا در آن قرار دارد وجود ندارد. علاوه بر این کاربران تاشو باید نگران ساییدگی لولا باشند.
با این حال، چنین دستگاه هایی اجزای خاص خود را دارند تا کاربران نگران غلتک و مکانیزمی باشند که از صفحه نمایش اضافی تغذیه می کند تا اندازه آن افزایش یابد.

اپل ترجیح می دهد از یک باتری تاشو در مقایسه با دو باتری سفت و سخت جداگانه برای آیفون تاشو استفاده کند؛ زیرا می تواند یک باتری با ظرفیت بیشتر را در دستگاه قرار دهد. علاوه بر این ، استفاده از باتری تاشو چیزی را ارائه می دهد که اپل آن را "انعطاف مکانیکی" دستگاه می نامد.
طبق گزارشات، اپل دو عامل مختلف برای آیفون تاشو خود در نظر گرفته است. یکی شبیه Galaxy Z Fold 3 است و هنگام باز شدن صفحه نمایش خارجی به اندازه تلفن هوشمند به iPad تبدیل می شود. احتمال دیگر یک شکل تاشو است که شبیه Galaxy Z Flip 3 است. هنگامی که بسته می شود، این دستگاه به راحتی در جیب جا می شود و با باز شدن یک تلفن هوشمند 6.7 اینچی با صفحه نمایش بلند و باریک با رزولوشن 21:9 یا نسبت تصویر 22:9 داریم.